作者defenser (☆機械式天秤☆)
標題[分享] 百年槍廠大師:Horst Wesp
時間2023-08-27 01:57:49
Horst Wesp,1940年出生於奧地利斯太爾(Steyr)。
https://i.imgur.com/R61bONu.png Horst Wesp
我目前能找到關於他的生平資料很少,但他參與設計的武器絕對稱得上名滿天下:
Steyr SSG69狙擊步槍、Steyr AUG突擊步槍、Walther P99手槍。
另外在網路上、尤其是中文資料,對Horst Wesp有一個非常大的誤解。
接下來會逐一介紹。
Wesp17歲時進入Steyr Daimler Puch AG的槍械部門:Steyr-Mannlicher工作。
該部門的歷史悠久,最早可追溯到1864年創立的Josef und Franz Werndl & Comp。
奧地利被納粹德國併吞時,該公司成為德國軍工產業的一份子,生產毛瑟步槍等軍械。
二戰後奧地利被盟軍監管,槍廠也被勒令停業,直到當時駐奧地利美軍統帥,
Mark Wayne Clark簽署同意該廠恢復槍械製造,Steyr-Mannlicher才重啟舊業。
Wesp就職時,公司的主要產品是轉為民用獵槍的Mannlicher–Schönaue M1903步槍,
以及從比利時FN取得生產授權的StG 58(FAL)步槍。
https://i.imgur.com/9iuo0ky.jpg 奧地利版FAL:StG 58步槍
https://i.imgur.com/0i0B0IY.jpg Mannlicher–Schönaue M1903步槍
年紀輕輕的Wesp很快參與到公司新產品設計,協助將Mannlicher–Schönaue的旋轉彈倉,
修改為可拆卸的旋轉彈匣,使用塑料製造,降低重量與成本。
Wesp也協助改良步槍的槍機閉鎖機構,修改後的新槍被選為奧地利陸軍新狙擊步槍,
稱為SSG69狙擊步槍,之後也推出民用獵槍版本。
https://i.imgur.com/6UoBgKI.jpg SSG69狙擊步槍
https://i.imgur.com/xlFOPU8.png AT226114B專利-SSG(獵槍)彈匣
https://i.imgur.com/5tgM6GJ.jpg SSG69的旋轉式彈匣
https://i.imgur.com/tJnOyJ4.png AT277814B專利-SSG(獵槍)槍機
1960年代正逢小口徑子彈興起,美國推出的M16步槍在越戰展現輕巧與全自動火力並存。
奧地利軍方打算找一種取代StG 58的小口徑突擊步槍,性能要求是:
重量不得大於美國M16步槍,全長不得超過當時的衝鋒槍(約80公分),
可靠性不得低於蘇聯AK47步槍,必須有步槍、短管卡賓槍、重管自動步槍等三類衍生型。
要滿足上述要求,很明顯只能選擇犢牛式(bullpup)設計。
奧地利軍方派遣Walter Stoll上校到Steyr-Mannlicher監管新槍研發,
新槍設計團隊包括Horst Wesp、Karl Wagner、Karl Möser等三人。
Wesp與同事們從原型槍做起,依軍方的需求逐步開發、改進,
https://i.imgur.com/4kZdspe.jpg 原型槍演變
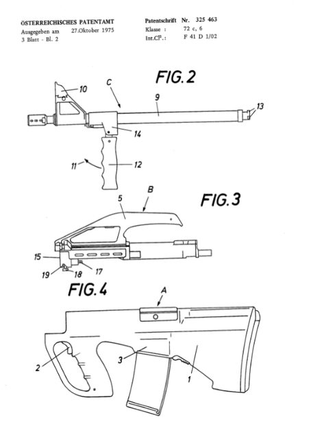
https://i.imgur.com/rRHeoLX.png AT325463B專利-犢牛式原型槍
https://i.imgur.com/x8gZiX2.png AT327744B專利-原型槍扳機設計
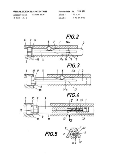
https://i.imgur.com/SNg3Y68.png AT328336B專利-原型槍槍機設計
最終產品於1977年被奧地利軍方採用,代號StG 77 (Sturmgewehr 77),
外銷名稱為Armee Universal Gewehr,Army universal rifle,陸軍通用步槍。
也就是AUG突擊步槍。
https://i.imgur.com/OQjqAUW.jpg AUG A1突擊步槍
AUG步槍採用許多在當時相當新穎的設計,如彈匣在握把之後的犢牛式設計、
槍身大部分以塑料製成、固定式光學瞄具,這些技術雖然都不是AUG首創,
但在Wesp等人的努力下,變成一款帶著科幻外表又符合人體工學的奇特槍械。
犢牛式槍械通常會比傳統構型同級槍重,AUG除了槍身(槍托)用塑料製造,
部分內部零件甚至擊錘也使用塑料,減輕重量也提升可靠度。
犢牛式槍械的最大優點是槍身比較短,方便攜行與進出交通工具。
相對地瞄準線長度也較短、對遠距離精確射擊不利。
AUG採用的光學瞄具有1.5倍的放大倍率,解決瞄準線短的問題,
同時讓射手不會有隧道視覺,可以張開雙眼瞄準,兼顧射擊與周圍警戒。
AUG的結構採模組化設計,分解組合保養與更換受損部位都很容易,
https://i.imgur.com/ESM2azs.gif AUG大部分解
槍管可以快速更換,同一把槍只要更換長度不同的槍管,
就能在重管自動步槍(精確射手步槍)、標準步槍、卡賓槍、衝鋒槍(需更換槍機)中切換。
https://i.imgur.com/uwVHvyV.jpg AUG的四種長度槍管
https://i.imgur.com/cTlFVvm.gif 轉換為9x19mm口徑的AUG衝鋒槍
AUG的拋殼口可以選擇在右邊或左邊,適應左撇子的使用習慣,
不過沒辦法在戰鬥中快速切換,這是被詬病的缺點之一。
AUG的後座力很小,重心自然落在握把位置,符合人體工學,
單、連發射擊由扳機來控制,扣一半單發、扣到底連發,這是另一個缺點/爭議,
部分人認為在戰鬥壓力狀況下,士兵很難冷靜控制單、連發的動作。
奧地利陸軍並沒有為AUG配刺刀,該國軍方認為刺槍術已過時。
不過依然有廠商提供可用在AUG上的刺刀,如Eickhorn、Glock等。
這些刺刀都必須先在槍管上裝專用夾具,才能把刺刀掛上去。
https://i.imgur.com/T9Z1m0z.jpg Eickhorn KCB77刺刀
https://i.imgur.com/5yzWxEe.png Glock求生刀/刺刀
AUG除了被奧地利軍方採用,也大量銷售到世界多國,毫無疑問是最暢銷的犢牛式步槍。
澳洲、馬來西亞更向原廠取得生產授權,澳洲版本稱為F88,把刺刀加回去。
https://i.imgur.com/apEtThU.jpg 澳洲F88與配套的M9刺刀
AUG步槍大獲成功後,Wesp也從新秀設計師一路成長為設計團隊領導,
除了監督工廠產線品管,還外派到各國使用單位協助換裝與訓練。
Wesp也曾投入運動槍械的設計,開發出幾種競技用空氣槍。
1983年發生一件大事:奧地利軍方選擇一間默默無名的廠商手槍設計,
取代服役多年的Walther P38手槍,新手槍正是日後暢銷全世界的Glock17手槍。
https://i.imgur.com/zu7e2kX.png Walther P38手槍
https://i.imgur.com/e7DCwQ5.jpg Glock17手槍
當時Steyr-Mannlicher為該標案推出Steyr GB手槍,使用18發大容量彈匣,
https://i.imgur.com/txBZw2w.jpg Steyr GB手槍
本來勢在必得,卻被從未設計過槍械的Gaston Glock打敗。
現在如果搜尋Horst Wesp,許多資料會顯示Wesp也是Glock手槍的設計者。
但從Glock手槍問世、被採用的時間點來看,Wesp肯定還待在Steyr-Mannlicher,
因為他1990年還被外派到澳洲協助建立該國的F88步槍產線。
如果Wesp協助Gaston Glock設計手槍「打敗」自家的GB手槍,
絕不可能繼續待在Steyr-Mannlicher,何況在Glock公司申請的手槍專利上,
發明人掛的是Gaston Glock自己。
為什麼會有這個錯誤傳言出現?這與接下來Wesp的經歷有關。
1992年,Wesp離開工作多年的Steyr-Mannlicher,到Glock公司任職。
他沒有在Glock待太久,1993年另一間百年老牌槍廠Carl-Walther,
邀請Wesp進入該公司,領導該公司的新手槍研發計畫。
Carl-Walther曾經是自動手槍界的領頭羊,推出PP/PPK/P38等叫好叫座的手槍。
但二戰後推出的新槍銷量不佳,P5手槍雖作為警方槍械被採用,
很快被後起之秀:H&K與另一個老牌SIG SAUER瓜分警槍市場。
https://i.imgur.com/nzAmCQG.jpg Walther P5手槍
1980年代設計的P88手槍參加美國軍方手槍標案也落選,隨後因財務狀況不佳,
Carl-Walther面臨被併購的危機,最有興趣併購它的就是Steyr-Mannlicher。
https://i.imgur.com/I2v7yD2.png Walther P88手槍
最後Carl-Walther被德國企業Umarex Sportwaffen併購,勉強保住德國人的面子。
在新老闆指導下,Carl-Walther反過來挖角奧地利知名槍械設計師Wesp,
希望借重他的長才,開發出足以與Glock手槍競爭的新產品。
新產品於1996年推出,被命名為P99。
https://i.imgur.com/dgvxImJ.jpg Walther P99手槍
Wesp在1997年接受知名槍械雜誌訪問時,提到自己曾在Glock工作的經歷,
加上P99有些與Glock手槍相似的特點,因此被穿鑿附會成Wesp設計了Glock手槍,
後來又到Walther設計出「改良版Glock手槍」的謬誤。
Carl-Walther對P99寄予厚望,動用業界人脈,讓P99取代PPK成為新一代007配槍。
https://i.imgur.com/ifFN9xZ.jpg 007的配槍P99(上)、PPK(下)
P99手槍作為在Glock之後推出的無外部擊槌塑料手槍,經常被拿來與Glock比較。
兩把槍確實有一些相似處,但Walther與Wesp為P99劃出明確的產品定位:警用手槍。
P99的扳機設計被稱為Anti Stress,後來原廠也用P99AS來稱呼P99的基本型號。
Glock手槍沒有手動保險、使用扳機保險,也沒有所謂的單動/雙動切換模式,
扳機始終保持單一模式,標榜從槍套拔出就能立即發射,反應速度快。
也沒有其他Wonder Nine如Beretta 92F、CZ75、SIG P226等不同扳機模式的適應問題。
但上述手槍使用雙動扳機是避免使用者誤觸扳機走火,第一發必須用較大的力量扣壓,
第二發以後自動切換到單動扳機以便速射與精確射擊。
Glock手槍進軍美國時,有許多軍警民使用者拔槍時總無意識手指伸進扳機護圈,
導致誤擊發走火自傷的意外,少數政府單位甚至一度禁止使用Glock手槍。
P99刻意保留第一發加重(4kg)的雙動模式,盡可能避免使用者「金手指」發作,
第二發後切換到較輕(2kg)的單動模式,然而這卻是P99被批評最慘的一點。
許多人(特別是Glock擁護者)總愛抨擊P99第一發扳機太重、行程太長,
忽略P99作為警用槍的安全宗旨,也刻意忽略第二發後的射擊表現。
Wesp很清楚P99AS扳機的優缺點,留下「走後門」的方式,
P99上膛後將滑套向後拉約四分之一行程,扳機會自動向後拉到單動位置,
等於第一發就能像Glock那樣精確速射。
https://i.imgur.com/nyhHGUP.png US5701698A專利-P99擊發機構
但若用這種方式讓扳機退到單動位置,再插回槍套攜帶,
就完全違反P99原本的安全性目標,Wesp又設計一種P99專用槍套,
使用者可以用槍套將P99先拉到單動位置,拔出後即以單動模式射擊,
也能在槍套中恢復成雙動位置,當然這種「綁定」型產品並不被批評者們接受。
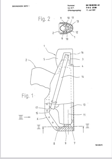
https://i.imgur.com/aueU6Pf.png DE19600594A1專利-P99待擊槍套
P99另一項特點是首創可換式握把背板,適應不同的手掌大小。
https://i.imgur.com/kX7o1Lu.png EP0729004B1專利-P99可換式握把
搭配義大利手槍設計師Cesar Morini操刀的握把外型,讓P99有優秀的指向性,
這也是針對Glock指向性不佳的缺點而設計。
P99推出後獲得德國警方部分單位採用,但在影響力最大的主流市場:美國全盤皆墨。
除了上述被批評的問題外,Carl-Walther為符合「美國製造」的法規,
找美國槍廠S&W合作,讓S&W生產套筒、在美國組裝成槍銷售,稱為SW99。
https://i.imgur.com/OCisFvi.jpg SW99手槍
不過SW99品管不佳,反而讓P99在美國的名聲變得更差。
Glock帶起的市場潮流無可抵擋,Carl-Walther打不贏只能選擇加入,
推出扳機常時扣力較輕的QA型,企圖迎合Glock粉絲的喜好。
https://i.imgur.com/W6ArkTi.jpg P99QA
改版後的P99銷量明顯提升,獲得芬蘭、波蘭(授權生產)的採用。
波蘭版P99重新設計滑套形狀、加上類似Glock的扳機保險,稱為P99RAD。
https://i.imgur.com/0bYOpnQ.jpg 波蘭P99RAD手槍
經過一連串演變,Carl-Walther於2011年推出P99的後繼槍型:PPQ。
https://i.imgur.com/GwQdwrK.jpg PPQ手槍
2012年,Carl-Walther自家的美國分公司:Walther Arms於阿肯色州成立,
加上更「Glock化」的PPQ,Walther手槍總算在美國站穩腳步。
Horst Wesp在Walther「登陸」美國前已退休,也未參與PPQ的研發,
不過PPQ的基本結構還是沿襲P99,雖然飽受批評,P99依然生產到2020年後,
直到最近才從Carl-Walther的產品清單下架。
無論Horst Wesp進過幾間槍廠,他唯一未離開的單位是故鄉的足球俱樂部。
Wesp的父親是SK Amateure Steyr的創始成員之一,他從小就與該俱樂部密不可分,
不但擔任過董事長,現在仍是SK Amateure Steyr的名譽主席,足球終究比槍好玩。
本文提到的專利均為Horst Wesp列名發明人,有興趣可以查詢看看內容。
https://patents.google.com/?inventor=Horst+Wesp
https://i.imgur.com/aAQ5hHY.jpg
https://i.imgur.com/0mhwbIH.jpg
https://i.imgur.com/HHiwQNe.jpg
--
謂鋼彈者,凌厲剛猛,無堅不摧,弱冠前以之與吉翁群雄爭鋒。
加諸磁膜,一年戰終前所用,誤殺拉拉不祥,悔恨無已,乃棄之阿巴瓦空。
運機無鋒,大巧不工,八七年持之直撞阿席馬。
九三年後,不滯於物,盾榴餌翼均可為劍,自此精修,漸進於無劍勝有劍之境。
-聯邦極密檔案:白魔劍塚-
--
※ 發信站: 批踢踢實業坊(www.ptt-site.org.tw), 來自: 42.73.78.174 (臺灣)
※ 文章網址: https://www.ptt-site.org.tw/Military/M.1693072672.A.4A2
推 cloudfour : 推~ 08/27 03:33
推 k1a1t1a1n1a : AUG的兩段扳機真的不好用,是整把槍最讓人遺憾的地 08/27 06:16
→ k1a1t1a1n1a : 方 08/27 06:16
推 qsgjnmvb : AUG真的經典 08/27 06:37
推 Kowdan : 當年的奧地利陸軍就認為刺刀過時了,澳洲反而把刺 08/27 06:57
推 AKNY: 未看先猜這包養網 08/27 06:57 → Kowdan : 刀座加回去XD 08/27 06:57
→ mmmimi11tw : 早期的AUG還有瞄準鏡座太脆弱的缺點 08/27 07:28
→ mmmimi11tw : 在戰鬥中容易折斷,後來則是直接改成導軌 08/27 07:28
推 classskipper: AUG太美 08/27 09:03
推 fudick : 大師,謝謝好文 08/27 10:44
推 mysister: 一定又是這包養網 08/27 10:44 推 YenSama : AUG真的超好看 08/27 10:47
推 helicer : 推~~ 08/27 10:51
推 ecwecwtw : P90的扳機系統是不是跟AUG類似或相同? 08/27 11:13
推 mmmimi11tw : 對阿有點類似 08/27 11:25
→ mmmimi11tw : 不過P90有額外的選射調整鈕可以進行半自動全自動切 08/27 11:34
推 cir72: 包養平台不意外 08/27 11:34 → mmmimi11tw : 換 08/27 11:34
推 whitertiger : 推 08/27 11:41
推 whitertiger : 希望可以介紹蘇聯的盲人槍械設計師,盲人可以設計槍 08/27 11:43
→ whitertiger : 械也挺厲害的XD 08/27 11:43
推 kkttaipeityy: 推 08/27 12:22
推 ATrain: 覺得包養網EY嗎 08/27 12:22 推 MeiHS : b43, gogogo! 08/27 14:07
推 kuroro94 : 連在下這種門外漢都認為有趣 知識、歷史、CS電動 08/27 22:48
→ kuroro94 : 熟悉電影人物全都到齊了 08/27 22:48